Our Work
A glimpse into the services we offer and projects we've brought to life








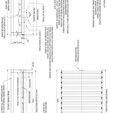
Design
We recently helped one of our clients with a manual handling issue that we solved with a roller lifting table, that we designed and fabricated for them.
Gallery
A thermographic image from one of our clients reports, showing a potential issues.
Helping our clients with electrical cabinet cooling. We offer a sizing and installation service of the chillers we fit.




Testing
PAT testing & Thermographic surveys —delivering certified results across multiple client sites with precision and care






